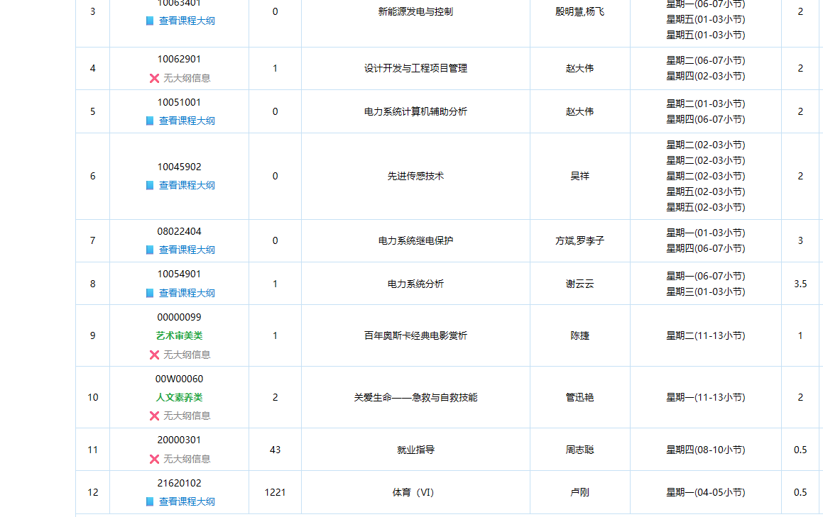
在课表、选课和成绩页面,自动为每门课程添加教学大纲链接,点击即可跳转查看详情。

在“成绩”页面中,自动识别课程所属类别(如公选课、人文素养等),并按类统计已修学分。

误入无效教务系统入口时,会弹出提示信息,引导用户跳转至正确登录地址。
南理工教务系统入口说明:
✅ 正确入口:http://202.119.81.113:8080/
✅ 智慧理工平台:https://ehall2.njust.edu.cn/(初次跳转可能报 SSL 错)
❌ 错误入口:http://202.119.81.112:9080/
❌ 错误入口:https://bkjw.njust.edu.cn/

脚本通过远程加载两份核心数据文件实现功能增强:
xxk.json)[
{
"course_code": "00000011",
"course_name": "坦克学",
"category": "自然科技类"
}
]
kcdg.json)[
{
"id": "572BF3AE025044A7BDD7AF953460102C",
"course_code": "161803E1"
}
]
如果你认为已有的 kcdg.json版本已过时(例如您在 2026 年 7 月 4 日使用这个脚本),请参考考
课程大纲采集流程(README.getKCDG.md)
重新采集课程大纲。
如果你认为已有的 xxk.json版本已过时(例如您在 2026 年 7 月 4 日使用这个脚本),请参考
选修课采集流程(README.getXXK.md)
重新采集选修课分类数据。